网站公告列表     本站最新引进2007-2008款一汽丰田威驰,卡罗拉,普锐斯,广州丰田雅力士,汉兰达,酷路泽,丰田大霸王等车型维修资料,包括维修手册,电路图  [king  2008年10月16日]        
加入收藏
设为首页
联系站长
您现在的位置: 维修资源网-专业提供配件目录零件图册维修手册维修资料技术图书培训多媒体课件视频教程检测仪 > 文章 > 汽车 > 小车 > 机电一体 > 设备应用 > 文章正文
  [组图]汽车万用表在故障诊断中的特殊应用         ★★★ 【字体:
汽车万用表在故障诊断中的特殊应用
作者:佚名    文章来源:转载    点击数:    更新时间:2009-6-9    

 

   汽车万用表一般具有测量电压、电阻和电流等功能,这能够满足大多数日常维修需要。但在很多情况下,维修人员还需要对脉宽、闭合角、占空比和频率等项目进行检测。一些高端万用表如OTC3545(图1)等汽车万用表就具备这些功能,它们的这些特殊功能在诊断中能够发挥很大作用,在此对这些项目的检测进行分析。

 

             

                    图2

 

具备上述特殊测试功能的高端万用表,一般具有一个触发按钮“TRIG”和一个用于自动捕捉稳定读数的“HOLD”按钮(图2)。其中,“TRIG”按钮可以调整触发方向,即在测量脉宽、闭合角、占空比或频率的模式下,选择正极或负极触发方式。按住按钮2 s,即可改变触发方向。触发方向的“+”或“-”的指示标志,会在屏幕上显示。默认的模式一般为负向触发。如果读数过高或不稳定,可以重复按这个按钮调整触发方向。仪器有4级触发水平,针对不同的功能,触发水平是不同的。按这个按钮能够选择合适的触发水平的级别,选择的级别会在屏幕的左下角显示。不同级别的触发水平参数如附表所示。

 

        附表  不同级别的触发水平参数

功能

触发水平

级别

RPM,脉宽,闭合角,占空比

3

+8 V

2

+6.25 V

1

+3.2 V

0

+1.5 V

 

HOLD”在不同情况下有不同的用法。在测量脉宽的时候,按“HOLD”这个键可以测量闭合角。测量占空比的时候,按“HOLD”键,“%”将显示在屏幕上。通过这个键,用户可以逐一选择脉宽、闭合角、占空比和频率测量模式,按其他键则会退出这些模式。

 

1.脉宽测量

脉宽就是执行器打开的时间长度。例如,发动机控制单元发出脉冲电流控制喷油器打开的时间。这个脉冲电流产生一个磁场,吸起阀芯,打开喷油器。脉冲电流结束后,喷油器关闭,喷油器由开到关的时间就是脉宽,它用毫秒(ms)计量。在汽车检测中,我们所说的脉宽通常是指喷油脉宽。当然,也可以测量燃油混合控制电磁阀和怠速控制电机的脉宽。

测量脉宽首先要设定好万用表,旋动滚轮选择脉宽ms-Pulse挡。按TRIG2 s,使“±TRIG”显示在屏幕左下方。喷油器通常为负极触发,设定时一般可以直接使用默认状态,不必专门调整。

 

      

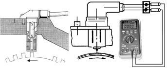
                            图3

 

(图3)是喷油脉宽测量的连接示意图,将黑色表笔插入万用表COM插口,红色表笔插入“RPM V Ω”插口。跨接喷油器的连接线时,万用表的黑色表笔与喷油器的负极,或蓄电池的负极连接。红色表笔与燃油喷射电磁阀的正极连线跨接。起动发动机,脉宽将以ms的单位显示。测试过程中,如果读数过高或不稳定,按TRIG键可以调整触发范围。

 

2.测量闭合角

闭合角是指分电器分火头触点闭合的角度。万用表可以测量1234568缸发动机的闭合角,因此在测量发动机闭合角时需要先选择发动机的缸数。在闭合角测量模式下,万用表默认的是4缸发动机,如果要选择其他的缸数,按CYL(RANGE)键进行缸数选择。

 

测量闭合角之前要对万用表进行设定,旋动滚轮选择ms-Pulse挡。按HOLD(DWELL)键直到屏幕显示“DWL  CYL  TRIG”。

 

       

                                      图4

 

接下来需要连接线路进行测量(图4)。将黑色表笔插入万用表COM插口,红色表笔插入“RPM  V Ω”插口。在表笔的另一端,红色表笔接地,或与蓄电池的负极连接。黑色表笔和点火模块低压正极连接。按CYL(RANGE)键选择发动机缸数。起动发动机观察读数。如果读数过高或不稳定,按TRIG键进行触发水平的调整。

 

3.测量占空比

占空比是指正值电压维持时间与负值电压维持时间的百分比的数值,汽车上的许多信号都需要进行占空比的测量,如凸轮轴位置传感器、曲轴位置传感器或燃油喷射控制电磁阀的信号等。

 

测量闭合角之前要对万用表进行设定,旋动滚轮选择脉宽ms-Pulse挡,按HOLD(DUTY%)键直到“%”显示在屏幕上。将黑色表笔插入COM插口,红色表笔插入“RPM V Ω”插口。

 

        

                                  图5

 

连接时,将黑色表笔接地,或与蓄电池的负极连接,红色表笔获取电磁阀信号(图5)。按TRIG2 s,使触发由负极到正极。起动发动机,占空比读数在50%左右。如果读数过高或者不稳定,按TRIG键进行触发调整。大部分汽车电磁阀的占空比数值在50%~70%,每个元器件的具体数据要查看汽车的维修手册。

 

4.频率(非汽车频率)的测量

万用表一般有2种频率测量模式:非汽车频率测量模式(触发水平约150?mV)用于一般的频率测量,汽车频率测量用于测量汽车空气流量计等传感器的频率。

对非汽车频率的测量,万用表在下列4个范围内自动适应量程:199.99 Hz1999.99 Hz 19.99 kHz199.99 kHz。如果输入信号低于触发水平,频率信号将不被拾取。如果读数不稳定,输入信号水平与触发水平接近。按RANGE键选择低量程即可解决问题。如果读数比预计的大好多倍,说明输入信号失真或被干扰,如电机控制信号的干扰。在这种情况下,选择汽车频率测量模式就可修正读数。

 

       

                        图6

 

测量频率之前需要设置万用表,旋动滚轮选择频率Hz挡。将黑色表笔插入万用表COM插口,红色表笔插入“RPM V Ω”插口。在与传感器连接(图6)时,将黑色表笔接地,红色表笔与信号输出线连接。然后着车运行进行频率测试。

 

5.压降测试

 

      

                        图7

 

压降测试用于检测消耗在电阻上的电压(电流流过元器件线路时使用的电压),最为常见的压降测量就是蓄电池与发动机缸体接地的压降测试(图7)、蓄电池接地与起动机正极接线柱压降测试以及充电系统测试。压降读数越小,说明被测电路的电阻越小。在测量不同的元器件和连接点压降的时候,万用表的保持(HOLD)功能很有用。在测量起动线路的连接点压降的时候,断开供油系统或点火系统起动发动机,检查起动线路上的电阻情况。

典型12 V电路系统中最大压降的情况如下:92 cm蓄电池连线,0.10 V;超过92 cm的蓄电池连线,0.20 V;电磁开关,0.30 V;电磁阀开关,0.20 V;机械式开关,0.10 V;蓄电池连线连接处,0.05 V;普通连接处,0 V。接下来列举2个电压降测试案例。

 

一辆凌志LEXUS L8400轿车,起动机运转无力,夜晚灯光亮度不足。把电压表正表笔连接发电机“+B”接柱,把负表笔接到蓄电池正极接柱上。起动发动机,观察读数,发现有0.5 V的电压降。检查线路中熔丝插接良好,当检查从发电机到蓄电池之间的导线时,发现在中段部位有挤压痕迹。剖开线皮,发现大部分铜线已被外力挤断,只有几根连接,修好断线后装复试车,一切正常。

 

一辆6360小客车,在不到2个月内更换了6根离合器接线,并且每次更换上新线后,当时踩离合器踏板感觉非常轻松,当使用几天后便感到离合器踏板逐渐沉重。用电压表负表笔连接蓄电池负极,用正表笔连接发动机壳体,测量其负极侧电压降,当起动发动机时电压表显示0.42 V电压降。经过检查搭铁线各部接点发现,固定在变速器壳体吊架上的搭铁线螺母松动,使发动机与车架蓄电池搭铁不良。电流为流回蓄电池负极,不得不寻找返回路线,而离合器拉线在此时充当了带有一定阻值的导体,因自身发热,对拉线表面及内部拉线造成不同程度的烧伤,导致离合器拉线异常损坏。

 

 

文章录入:king    责任编辑:king 
  • 上一篇文章:

  • 下一篇文章:
  • 最新热点 最新推荐 相关文章
    全面解读DCT双离合器变速器技
    沃尔沃豪华大巴EGS系统结构原
    汽车返修及其解决方案
    如何使用汽车故障诊断仪进行
    怎样使用汽车示波器诊断汽车
    怎样选购汽车电子维修仪器设
    汽车洗车店设备配套方案参考
    怎样使用汽车万用表检测汽车
    MT3500 手持发动机分析仪的使
    智能车轮动平衡在汽车维修中
      网友评论:(只显示最新10条。评论内容只代表网友观点,与本站立场无关!)
    QQ:712720680 712720681 712720682 手机微信同号:18688127181 Email:www@vixiu.com
    Copyright© 2007-2021vixiu .com 版权所有 维修资源网 粤ICP备11034860号