网站公告列表     本站最新引进2007-2008款一汽丰田威驰,卡罗拉,普锐斯,广州丰田雅力士,汉兰达,酷路泽,丰田大霸王等车型维修资料,包括维修手册,电路图  [king  2008年10月16日]        
加入收藏
设为首页
联系站长
您现在的位置: 维修资源网-专业提供配件目录零件图册维修手册维修资料技术图书培训多媒体课件视频教程检测仪 > 文章 > 文章正文
  [组图]重汽豪沃HW18710系列变速箱使用说明及备件图册         ★★★ 【字体:
重汽豪沃HW18710系列变速箱使用说明及备件图册
作者:佚名    文章来源:转载    点击数:    更新时间:2009-10-22    
sp;  副箱采用行星减速结构的优点是传递扭矩大,传动比的范围大,使用寿命长,结构紧凑,能够方便的实现中心轮包括太阳轮和内齿圈的浮动,同时输出轴定位可靠,并且当副箱处于高挡时,行星结构整体绕轴心转动,行星轮只有公转而没有自传,此时行星机构的传动效率几乎是100%,搅油损失小。

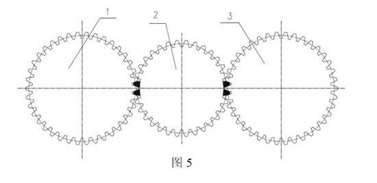
    2、“对齿”及对齿程序

    为了解决双副轴齿轮与主轴齿轮的正确啮合,必须进行“对齿”。

    所谓“对齿”,即组装变速器时,将两根副轴传动齿轮上印有标记的轮齿分别插入输入轴齿轮上印有标记的两组轮齿的齿槽中,见图5。

点击查看原图

1、左副轴传动齿轮 2、输入轴齿轮 3、右副轴传动齿轮

    “对齿”程序:

    (1)先在输入轴齿轮的任意两个相邻齿上打上记号,然后在与其相对称的另一侧两相邻齿上打上记号。两组记号间的齿数应相等。

    (2)在每根副轴传动齿轮上与齿轮键槽正对的那个齿上打个记号,以便识别。

    (3)装配时,使两根副轴传动齿轮上有标记的齿分别啮入输入轴齿轮左右两侧标有记号的两齿之中。

    3、换挡机构

    HW18710变速器的主箱内没有同步器,换挡是靠移动滑套来进行的,主轴滑套通过渐开线花键套在主轴上,移动滑套使滑套的接合齿(外花键)与主轴齿轮的内花键啮合传递动力,见图6。

点击查看原图

    滑套和主轴各挡齿轮接合齿端有相同大小的锥角:α=35°,由于主轴齿轮相对于主轴处于浮动状态,所以挂挡时,这两个锥面能起到一定的自动定心和同步作用。

    4、操纵机构

点击查看原图

    HW18710变速器为远距离操纵型,有单杆单操纵和双杆单操纵两种类型。主变速器为手操纵,后副箱为气操纵,图7和图8分别为换挡机构换挡手柄位置图和换挡手柄图。当手柄预选阀开关处于位置L时,可挂1-2-3-4-5-R1挡,当处于位置H时,可挂6-7-8-9-10-R2。

5、气操纵系统

    气源为两支来自整车的0.7~0.8Mpa的压缩空气。操纵机构气路示意图如图9、10、11:当换挡手柄开关阀处于H位置时,没有压缩空气通往二位五通阀的14口,整车气源通过截止阀的1口到2口,到二位无通阀的1口,经二位五通阀的22口进入范围挡气缸下口;

    反之,当换挡手柄开关阀处于L位置时,有压缩空气通往二位五通阀的14口,整车气源通过截止阀的1口到2口,到二位无通阀的1口,经二位五通阀的21口进入范围挡气缸上口。(只有在空挡时,截止阀才通气)

点击查看原图

点击查看原图

点击查看原图

    6、取力机构

    HW18710变速器采取主箱副轴取力,为后取力,输出旋向与发动机旋向相同。取力器与变速器内腔相通,采用强制润滑,不必另外加注润滑油。

    目前,可匹配的取力器有HW50、HW70两系列取力器。

    7、变速器的润滑系统

    HW18710变速器采用强制润滑和齿轮飞溅润滑相结合的润滑方式,大流量强制润滑油泵使润滑油流到各个部分,使同步器、轴承及齿轮得到充分润滑冷却,见图12

点击查看原图

    同时,变速器装有滤清器,以确保到各部位润滑油的清洁。

●  HW18710变速器的使用保养和注意事项

    1)使用要求

    正确合理地操作使用变速器,定期进行维护保养,对于保证汽车安全可靠的行驶和延长变速器寿命十分重要,请遵循下面使用要求:

    1.润滑油牌号:变速器内应加注85W/90GL-5级车辆齿轮油。

 &

上一页  [1] [2] [3] [4] [5] [6] 下一页

文章录入:PPPPP88    责任编辑:PPPPP88 
  • 上一篇文章:

  • 下一篇文章:
  • 最新热点 最新推荐 相关文章
    法士特变速箱维修使用手册资
    法士特变速箱与重汽变速箱技
    怎样更换法士特RT-11509系列
    ZFASTronic系列重型商用车自
    法士特双中间轴全同步器变速
      网友评论:(只显示最新10条。评论内容只代表网友观点,与本站立场无关!)
    QQ:712720680 712720681 712720682 手机微信同号:18688127181 Email:www@vixiu.com
    Copyright© 2007-2021vixiu .com 版权所有 维修资源网 粤ICP备11034860号